Prodej stavebního pozemku pro RD v Albrechticích nad Orlicí.
POZEMKY - PRODEJ 915-151894
Albrechtice nad Orlicí3 100 000 Kč
Včetně provize a právních služeb
Kontakt na makléře
Popis nemovitosti
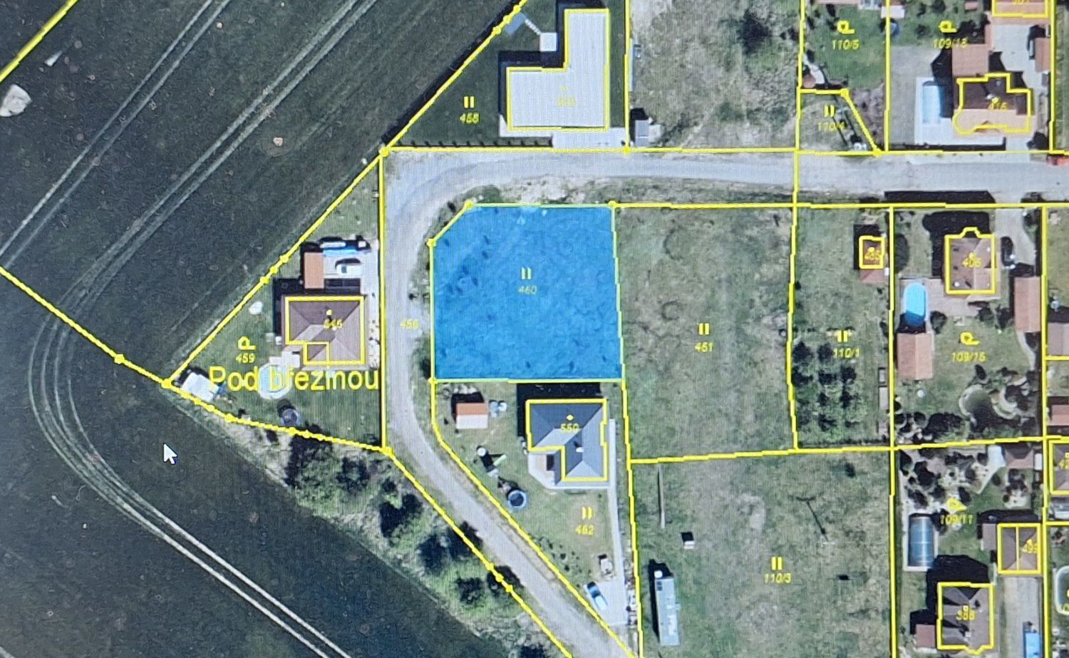
Pozemek se nachází v ulici Štěpánovské, v klidném místě v zástavbě rodinných domů. Jde o rohovou, velice dobře umístěnou parcelu o ploše 939 m2. Pozemek je v územním plánu zařazen ve funkční ploše BV - bydlení v rodinných domech - venkovské. Pozemek je rovný, zatravněný, jsou na něm drobné náletové dřeviny. Na pozemek je přivedena elektřina, veřejný vodovod a kanalizace. Velice hezké a klidné místo, krásné okolí, Hradec Králové 20 km. Ideální pozemek pro Vaše bydlení.
Podrobné informace
Č.zakázky: | 915-151894 |
Lokalita: | Albrechtice nad Orlicí |
Město: | Albrechtice nad Orlicí |
Typ objektu: | Pozemky |
Druh: | bydlení |
Odpad: | veřejná kanalizace |
Elektřina: | 220/380 |
Voda: | obecní vodovod |









